
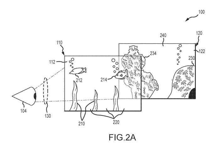
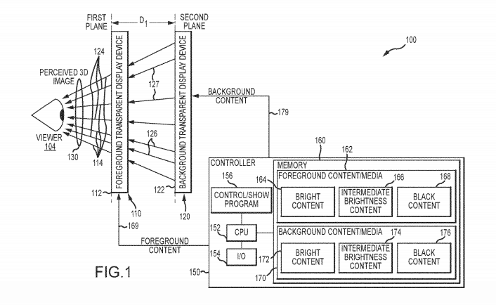
According to WDW News Today, Disney has taken a patent out titled ““Interactive Multiplane Display System With Transparent Transmissive Layers” which can be simply described as a multi dimensional screen. It will most likely be used to create virtual windows, or display windows that can create the false perception of depth when a viewer moves in relation to the window. There are several ways technically to pull this off – such as using short-throw digital projectors with transparent projection screens or transparent OLED screens.

The real trick is that a opaque background layer is needed behind the transparent screens to regulate the brightness of the overall composition.
I would like to point out that I envisioned a similar concept back during my graduate thesis work (which you can find here), but I went even further predicting actual physical spaces and variable opacity surfaces mixed into the layering:

That was 20 years ago, the rest of the world should catch up soon! I wish I had patented those concepts…